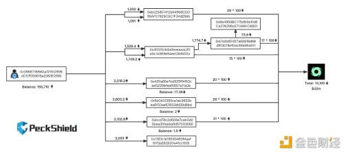
本站消息,据安全机构派盾(PeckShield)统计显示,截至 2022 年 4 月 9 日17时,Ronin 攻击者地址已将总计 13100 枚 ETH(约4200 万美元)转移到 Tornado.Cash,钱包中还持有 159710 枚 ETH(约5.12 亿美元)。
![图片[1] - 安全机构:Ronin 攻击者已将13100 枚 ETH 转移到 Tornado.Cash - 屯币呀](https://s1.tunbya.com/wp-content/uploads/2022/04/tunbiya-20695-1649525326-500x222.png)
作者郑重申明:本站所有内容仅供参考,任何内容均不构成投资建议,投资有风险,入市须谨慎。
© 版权声明
文章版权归作者所有,未经允许请勿转载。
THE END

![图片[1] - 安全机构:Ronin 攻击者已将13100 枚 ETH 转移到 Tornado.Cash - 屯币呀](https://s1.tunbya.com/wp-content/uploads/2022/04/tunbiya-20695-1649525326-500x222.png)
作者郑重申明:本站所有内容仅供参考,任何内容均不构成投资建议,投资有风险,入市须谨慎。